Fulvia Zagato 1.Serie Türfangband

Electronic distributor
CD's with documentation: Fulvia Flavia Flaminia
racing
Posts: 1371
Joined: 09 Jan 2009, 08:25
Location: cologne/Bonn

Fulvia Zagato 1.Serie Türfangband

Unread post by racing »

Hallo zusammen,

ich suche schon eine Weile neue Türfangbänder für Fulvia Zagato 1.Serie.
Da Zagato sich gerne im Regal von anderen Herstellern bedient hat bleibt die
Frage ob jemand anhand des Bildes evtl. weiß wo diese noch verbaut wurden.
Türfangband.jpg
Habe jetzt mal angefangen die Blechhalte neu zu bauen. Aber wenn jemand
weiß wo man diese als Neuteil bekommt wäre dies auch hilfreich.

Danke im Voraus

Gruß Andreas
kridkrid
Posts: 117
Joined: 06 Jan 2017, 20:28
Location: Aachen, Köln, Düsseldorf

Re: Fulvia Zagato 1.Serie Türfangband

Unread post by kridkrid »

Hallo Andreas,

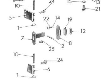
ich habe mal die Original Bestellnummern rausgesucht vielleicht hilft das jemand bei der Suche weiter (s.Anhang).
[attachment=0]Türfangband_1.JPG[/attachment]
[attachment=1]Türfangband_2.JPG[/attachment]
[attachment=2]Türfangband_3.JPG[/attachment]
Neu scheint das etwas aussichtslos, aber warum nicht gebraucht, wenn in Ordnung?
Die Türen werden ja doch hin und wieder angeboten, da gibt es ja vielleicht auch mal ein Türfangband?

Professionell bietet nach meiner Recherche nur der deutsche Kollege aus Südafrika unter den Nummern was an, aber auch gebraucht...

Gruß
Dirk
Attachments
Türfangband_1.JPG
Türfangband_1.JPG (17.34 KiB) Viewed 1737 times
Türfangband_2.JPG
Türfangband_3.JPG
Türfangband_3.JPG (10.84 KiB) Viewed 1736 times
racing
Posts: 1371
Joined: 09 Jan 2009, 08:25
Location: cologne/Bonn

Re: Fulvia Zagato 1.Serie Türfangband

Unread post by racing »

Hallo Dirk,

danke für die Rückmeldung.

Gebrauchte habe ich leider selber und die sehen ja entsprechend aus.
Wer ist denn der deutsche Kollege aus Südafrika. Hast du einen Link?

Angeboten wird so gut wie nichts spezifisches mehr für den Zagato 1.Serie.

Gruß Andreas
racing
Posts: 1371
Joined: 09 Jan 2009, 08:25
Location: cologne/Bonn

Re: Fulvia Zagato 1.Serie Türfangband

Unread post by racing »

Also wird mir nichts anders übrig bleiben als das selbst zu erstellen.

Der Anfang ist gemacht.
Blech1.jpg
FL30
Posts: 264
Joined: 30 Sep 2009, 19:17

Re: Fulvia Zagato 1.Serie Türfangband

Unread post by FL30 »

Sieht sehr schön aus, was Du da baust!

Wird bestimmt besser as alles, was man (wenn überhaupt) angeboten bekommt.
Hubert
kridkrid
Posts: 117
Joined: 06 Jan 2017, 20:28
Location: Aachen, Köln, Düsseldorf

Re: Fulvia Zagato 1.Serie Türfangband

Unread post by kridkrid »

Hallo Andreas,

filigrane Bördelarbeit, sieht zeitaufwendig aus...

Der deutsche Südafrikaner heißt Felix Furtak und betreibt dort das "Lancia Wellness Center"

https://lancia.co.za/

bist Du doch bestimmt schon mal drüber gestolpert?
Ist halt weit weg,+Zoll und Mwst. gelegentlich verschwindet wohl auch schon mal ein Paket.

Er hat eine sehr interessante Vitae, man kann viel über Ihn erfahren, wenn man nach seinen Namen sucht.
Gruß
Dirk
racing
Posts: 1371
Joined: 09 Jan 2009, 08:25
Location: cologne/Bonn

Re: Fulvia Zagato 1.Serie Türfangband

Unread post by racing »

Hallo Hubert,

hoffen wir mal das Beste. Aber es geht besser als zunächst gedacht.

So siehts aktuell aus. Jetzt noch verschließen, lackieren und zusammenbauen.
Türfangband_1.jpg
FL30
Posts: 264
Joined: 30 Sep 2009, 19:17

Re: Fulvia Zagato 1.Serie Türfangband

Unread post by FL30 »

Klasse, "Daumen hoch"!
Hubert
racing
Posts: 1371
Joined: 09 Jan 2009, 08:25
Location: cologne/Bonn

Re: Fulvia Zagato 1.Serie Türfangband

Unread post by racing »

So, Thema erledigt.

Aus Alt mach Neu.

Gruß Andreas
IMG_2204.jpg
Post Reply

Return to “D70 Fulvia, Flavia, Flaminia, Stratos”