protettivo benzina
-
poti francesco
- Messaggi: 266
- Iscritto il: 12 ago 2011, 15:11
protettivo benzina
Allo scopo di ripulire e migliorare la funzione degli iniettori,mi vene consigliato un protettivo della wurth da impiegare però a concentrazione più che doppia di quella consigliata di una bottiglietta da 150 ml in 70/80 lt.Mi dicono che è efficace nel ripulire l'intero impianto di alimentazione,compresi gli iniettori,dai depositi accumulatisi nel tempo.Avete esperienze in merito?possono creare danni ?.Ho anche un prodotto della valvoline (max life-fuel sistem cleaner.
Re: protettivo benzina
Buon pomeriggio Francesco,
Ti do un parrere personale per cui prendilo come tale. Non ho mai utilizzato quei prodotti perchè non credo ai miracoli. Se gli iniettori sono sporchi ed incrostati si puliscono con un lavaggio ad ultrasuoni. Sono anche convinto che meno "porcherie" si mettono in un motore, meglio è, soprattutto in un motore in lega di 60 anni fa...
Se non ricordo male hai scritto di averli fatti controllare da un pompista, prima del controllo dovrebbe averli puliti con alcune pompate ad alta pressione ( come peraltro previsto dai manuali Kugelfischer), se fossero stati troppo incrostati li avrebbe senz'altro lavati lui.
Un caro saluto
Giovanni
Ti do un parrere personale per cui prendilo come tale. Non ho mai utilizzato quei prodotti perchè non credo ai miracoli. Se gli iniettori sono sporchi ed incrostati si puliscono con un lavaggio ad ultrasuoni. Sono anche convinto che meno "porcherie" si mettono in un motore, meglio è, soprattutto in un motore in lega di 60 anni fa...
Se non ricordo male hai scritto di averli fatti controllare da un pompista, prima del controllo dovrebbe averli puliti con alcune pompate ad alta pressione ( come peraltro previsto dai manuali Kugelfischer), se fossero stati troppo incrostati li avrebbe senz'altro lavati lui.
Un caro saluto
Giovanni
-
poti francesco
- Messaggi: 266
- Iscritto il: 12 ago 2011, 15:11
Re: protettivo benzina
Grazie Giovanni,ma ti voglio anche aggiornare su alcuni controlli fatti oggi e che in parte mi hanno tranzuillizzato.Ieri ti avevo comunicato che un cilindro era muto quando si staccava la corrente o si riattaccava;nessuna differenza.Per chiarire meglio la causa che a quel punto sembrava logico attribuire al relativo pompante bloccato,abbiamo svitato il raccordo di mandata della benzina al relativo cilindro,costatandone l'emissione di poche gocce di carburante,così come da un altro condotto scollegato per verifica.Abbiamo scambiato gli iniettori trsi due cilindri e ricollegato le mandate della benzina.messa in moto,costatiamo che i cilindri funzionano entrambi regolarmente tanto che si notava un calo di regime staccando la corrente sia da uno che dall'altro.Come interpretare la cosa?L'amico meccanico mi ha dato il solito consiglio di usare la macchina e dell'additivo.Questo è quanto;la cosa certa è che la mia Flavia mi sta facendo venire l'esaurimento nervoso ed ...economico.Saluti Francesco
Re: protettivo benzina
Ciao Francesco,
qualunque dispositivo meccanico necessita controlli e revisioni periodiche, i sistemi di iniezione meccanica sono complessi e, nel caso delle Flavia, sono stati spesso trascurati o malamente riparati nel tempo da mani poco attente ed esperte. Controllare e riparae un pezzo alla volta é frustrante e spesso più costoso che provvedere ad una revisione completa una volta per tutte.
Il problema che hai lamentato potrebbe essere causato da una valvola di mandata o di aspirazione che, se non funzionanti, possono causare quel tipo di malfunzionamento.
Ti ripeto che, a mio parere, se gli iniettori sono da ripulire (e non è detto che lo siano) é molto meglio smontarli e lavarli in un bagno ad ultrasuoni, fondamentale poi avere sempre i filtri in perfetto ordine.
Un caro saluto
Giovanni
qualunque dispositivo meccanico necessita controlli e revisioni periodiche, i sistemi di iniezione meccanica sono complessi e, nel caso delle Flavia, sono stati spesso trascurati o malamente riparati nel tempo da mani poco attente ed esperte. Controllare e riparae un pezzo alla volta é frustrante e spesso più costoso che provvedere ad una revisione completa una volta per tutte.
Il problema che hai lamentato potrebbe essere causato da una valvola di mandata o di aspirazione che, se non funzionanti, possono causare quel tipo di malfunzionamento.
Ti ripeto che, a mio parere, se gli iniettori sono da ripulire (e non è detto che lo siano) é molto meglio smontarli e lavarli in un bagno ad ultrasuoni, fondamentale poi avere sempre i filtri in perfetto ordine.
Un caro saluto
Giovanni
Ultima modifica di gcarenini il 03 mar 2021, 11:09, modificato 1 volta in totale.
Re: protettivo benzina
Più che altro dato che la benzina si deteriora velocemente, visto lo scarso uso talvolta dei veicoli d'epoca la cosa migliore sarebbe aggiungere un alchilante che evita il deterioramento della benzina e le relative lacche/incrostazioni
-
poti francesco
- Messaggi: 266
- Iscritto il: 12 ago 2011, 15:11
Re: protettivo benzina
caro Giovanni,concordo con te sul concetto di affidare l'auto a un competente (a trovarlo) che la controlli in ogni organo;nel mio caso l'unico riferimento valido è a Roma,dal servizio bosch più volte consigliato nel forum,ma solo il trasporto andata e ritorno mi costa più di 500 €.Potrei tentare di andarci con la macchina,ma non sarà semplice sia per l'affidabilità per oltre 200km complessivi che per il traffico in città.In alternatova potrei ricontattarli per una revisione della sola pompa che potrei farla smontare dal solito meccanico locale e spedirgliela,anche se prevedo una certa resistenza a tale soluzione riduttiva,da parte del servizio Bosch.Altri presunti maghi mi hanno delapidato lasciandomi sempre con mezze soluzioni.Le valvole di mandata a cui ti riferisci sono della pompa KF?
Re: protettivo benzina
Ciao Francesco,
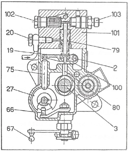
le valvole fanno parte della pompa, servono a permettere l'aspirazione del carburante da parte del pistone e la successiva compressione verso l'iniettore, vedi i particolari 102 (asirazione) e 103 (mandata) nell'immagine allegata, il funzionamento è concettualmente simile a quello di un motore.
le valvole fanno parte della pompa, servono a permettere l'aspirazione del carburante da parte del pistone e la successiva compressione verso l'iniettore, vedi i particolari 102 (asirazione) e 103 (mandata) nell'immagine allegata, il funzionamento è concettualmente simile a quello di un motore.