Hauptbremszylinder Fulvia Serie 21mm
Hauptbremszylinder Fulvia Serie 21mm
Hallo liebe Mitstreiter,
nicht gerade billig, aber vorteilhafterweise nachgefertigt zu bekommen ist der Hauptbremszylinder für die Fulvia.
Die Situation scheint sogar so, als ob verschiedene Hersteller sich dieser Nachfertigung angenommen hätten. Ich schließe dies aus diversen Abbildungen aus dem Internet, die sich zumindest im äußeren Erscheinungsbild mitunter mehr oder weniger deutlich unterscheiden.
Bis auf das Gussbild (rauh oder fein) lässt sich zu der Qualität der mechanischen Bearbeitung leider nicht viel sagen, dazu sind die Abbildungen meist zu schlecht aufgelöst. Beispielsweise aufgefallen ist mir, dass bei einem Anbieter die Nut für die O-Ring Abdichtung zum Bremskraftverstärker fehlt.
Nun gehe ich davon aus, dass Ihr schon den ein oder anderen Zylinder gekauft habt und eventuell eine Kaufberatung aussprechen könnt?
Preislich liegen die Anbieter ja recht nahe beieinander, daher fällt die Wahl nicht leichter...
Eigentlich ein neues Thema wert sei an dieser Stelle gefragt, ob sich mal jemand mit einer Alternative zu den "Original" Zylindern beschäftigt hat. Neben korrekten hydraulischen Übersetzungsverhältnissen, Befestigung, Anschlüssen u.ä. tut sich da zweifellos ein weites Feld auf.
Gruß
Dirk
nicht gerade billig, aber vorteilhafterweise nachgefertigt zu bekommen ist der Hauptbremszylinder für die Fulvia.
Die Situation scheint sogar so, als ob verschiedene Hersteller sich dieser Nachfertigung angenommen hätten. Ich schließe dies aus diversen Abbildungen aus dem Internet, die sich zumindest im äußeren Erscheinungsbild mitunter mehr oder weniger deutlich unterscheiden.
Bis auf das Gussbild (rauh oder fein) lässt sich zu der Qualität der mechanischen Bearbeitung leider nicht viel sagen, dazu sind die Abbildungen meist zu schlecht aufgelöst. Beispielsweise aufgefallen ist mir, dass bei einem Anbieter die Nut für die O-Ring Abdichtung zum Bremskraftverstärker fehlt.
Nun gehe ich davon aus, dass Ihr schon den ein oder anderen Zylinder gekauft habt und eventuell eine Kaufberatung aussprechen könnt?
Preislich liegen die Anbieter ja recht nahe beieinander, daher fällt die Wahl nicht leichter...
Eigentlich ein neues Thema wert sei an dieser Stelle gefragt, ob sich mal jemand mit einer Alternative zu den "Original" Zylindern beschäftigt hat. Neben korrekten hydraulischen Übersetzungsverhältnissen, Befestigung, Anschlüssen u.ä. tut sich da zweifellos ein weites Feld auf.
Gruß
Dirk
Re: Hauptbremszylinder Fulvia Serie 21mm
Ich fahre meine 2. Serie problemlos mit Stahl-HBZ.
Wer originale Optik will, wird jedoch die Nase rümpfen..
http://www.classiclancia.com/car-parts/ ... uct_id=245
Gruß, Ali
Wer originale Optik will, wird jedoch die Nase rümpfen..
http://www.classiclancia.com/car-parts/ ... uct_id=245
Gruß, Ali
Re: Hauptbremszylinder Fulvia Serie 21mm
Der S2 Fulvia (und die Flavia / 2000-Modelle) haben ein sogenanntes Super-Duplex-Bremssystem. Beim Super-Duplex-System sind die Radbremszylinder anders angeschlossen als bei einem Duplex-System. Der Inhalt der beiden Kammern des Hauptbremszylinders unterscheidet sich wesentlich von einem Duplex-Hauptbremszylinder.
Wenn beide Kreise funktionieren, haben Sie kein Problem. Das Problem tritt nur auf, wenn einer der beiden Kreisläufe Flüssigkeit verliert. Es kann dann sein, dass der 2. Kreislauf nicht genug Flüssigkeit zum Bremsen bewegen kann. Ich würde niemals einen anderen Hauptbremszylinder als das Original verwenden. Oder es sollte versucht werden, dass das Auto immer noch bremst, wenn Kreis 1 oder Kreis 2 leer ist.
Übersetzt mit Google Translate. Entschuldigung.
Wenn beide Kreise funktionieren, haben Sie kein Problem. Das Problem tritt nur auf, wenn einer der beiden Kreisläufe Flüssigkeit verliert. Es kann dann sein, dass der 2. Kreislauf nicht genug Flüssigkeit zum Bremsen bewegen kann. Ich würde niemals einen anderen Hauptbremszylinder als das Original verwenden. Oder es sollte versucht werden, dass das Auto immer noch bremst, wenn Kreis 1 oder Kreis 2 leer ist.
Übersetzt mit Google Translate. Entschuldigung.
Re: Hauptbremszylinder Fulvia Serie 21mm
Hmm, es ist klar, dass die vorderen Girling Bremszangen bei der 2. Serie über zwei getrennte Leitungen betätigt werden. Dass es aber Unterschiede bei den Hauptbremszylindern gibt, war mir nicht bewußt.
Wo liegen denn diese Unterschiede genau?
Gruß, Ali
Wo liegen denn diese Unterschiede genau?
Gruß, Ali
Re: Hauptbremszylinder Fulvia Serie 21mm
Hallo Ali,
zunächst vielen Dank an Ali für die Vorstellung einer Variante in Stahl. (Die ich so noch nicht kannte!)
Ich könnte mir vorstellen, dass diese Ausführung robuster (insbesondere im Renneinsatz...Hallo Ali) und Korrosion ist.
Die Paarung von Aluminium(Gehäuse) und Stahl (Kolben, Verschraubungen, etc.) die in der elektrochemischen Spannungsreihe doch recht weit auseinanderliegen, wird immer dann kritisch wenn der Wasseranteil in der Bremsflüssigkeit zunimmt. Folglich sind die Hauptbremszylinder von Fahrzeugen mit längerer Standzeit ohne Wartung ("Scheunenfunde") wahre Korrosionsauswüchse. Bei Stahlzylinder kenne ich das so heftig nicht.
Mitunter lassen sich ja noch nicht einmal mehr die filigranen M4 Schrauben des Kunststoffbehälters herausdrehen ohne sie abzureissen...
Einen erhofften kostenmäßigen Vorteil bringt der vorgestellte Stahlbremszylinder allerdings auch nicht. Ich habe mich doch gleich einmal informiert,der Preis liegt o´Wunder auf gleichem Niveau wie die dem Original nachempfundenen Aluminium Nachbauten...
Zur Schadenfreude noch ein paar Bildchen
Gruss
Dirk
zunächst vielen Dank an Ali für die Vorstellung einer Variante in Stahl. (Die ich so noch nicht kannte!)
Ich könnte mir vorstellen, dass diese Ausführung robuster (insbesondere im Renneinsatz...Hallo Ali) und Korrosion ist.
Die Paarung von Aluminium(Gehäuse) und Stahl (Kolben, Verschraubungen, etc.) die in der elektrochemischen Spannungsreihe doch recht weit auseinanderliegen, wird immer dann kritisch wenn der Wasseranteil in der Bremsflüssigkeit zunimmt. Folglich sind die Hauptbremszylinder von Fahrzeugen mit längerer Standzeit ohne Wartung ("Scheunenfunde") wahre Korrosionsauswüchse. Bei Stahlzylinder kenne ich das so heftig nicht.
Mitunter lassen sich ja noch nicht einmal mehr die filigranen M4 Schrauben des Kunststoffbehälters herausdrehen ohne sie abzureissen...
Einen erhofften kostenmäßigen Vorteil bringt der vorgestellte Stahlbremszylinder allerdings auch nicht. Ich habe mich doch gleich einmal informiert,der Preis liegt o´Wunder auf gleichem Niveau wie die dem Original nachempfundenen Aluminium Nachbauten...
Zur Schadenfreude noch ein paar Bildchen
Gruss
Dirk
Re: Hauptbremszylinder Fulvia Serie 21mm
Hallo Dirk,
ich hab drei 21 mm Alu-HBZ hier liegen, die ähnlich aussehen wie deiner. Das war für mich der Grund, auf einen Stahl-HBZ umzubauen. Damlas gab es sie noch bei Bielstein zu einem fairen Preis.
Gruß, Ali
ich hab drei 21 mm Alu-HBZ hier liegen, die ähnlich aussehen wie deiner. Das war für mich der Grund, auf einen Stahl-HBZ umzubauen. Damlas gab es sie noch bei Bielstein zu einem fairen Preis.
Gruß, Ali
Re: Hauptbremszylinder Fulvia Serie 21mm
Hallo Ali, hallo Huib
zum Thema "Super" Duplex oder auch Zweikreisbremssystem Typ HT genannt gebe ich meinen Senf mal dazu.
Für alle Mitleser vorab in Kurzform:
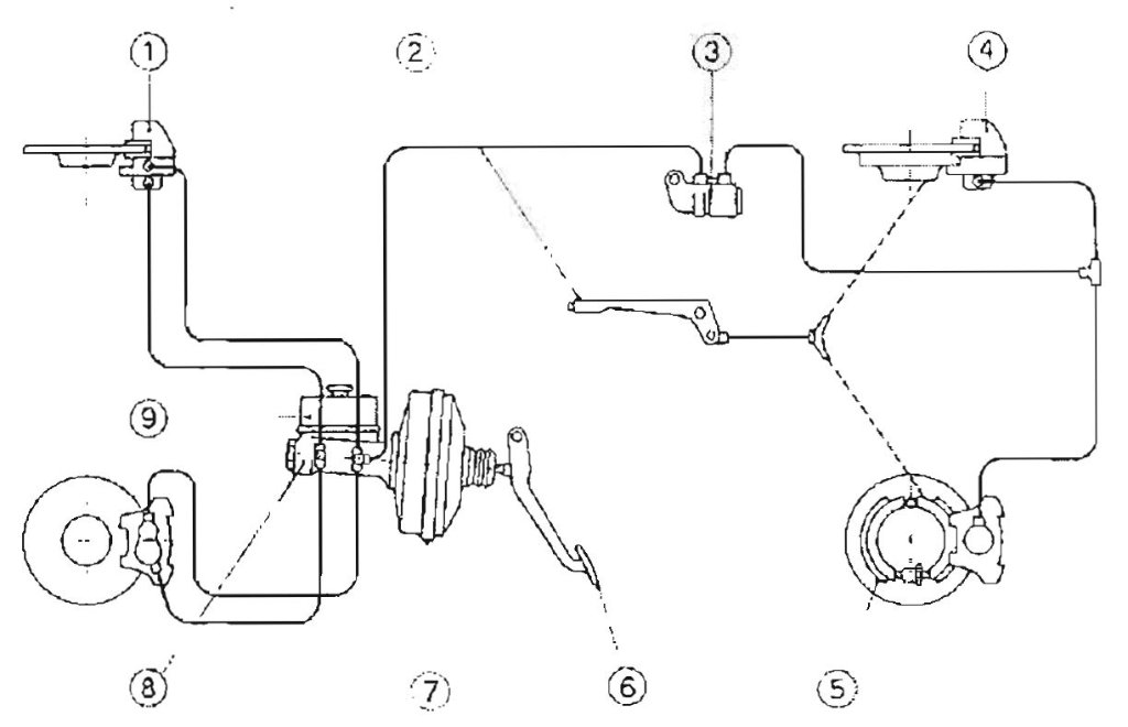
Der Hauptbremszylinderkolben 1 (der dem Bremskraftverstärker näher liegt) auch Druckkolben genannt (weil man da mit dem Pedal drauf drückt..) betätigt die 4 kleinen Kolben (d =34mm) der vorderen und die der hinteren Rabremszylinder zugleich.
Der Hauptbremszylinderkolben 2 auch Schwimmkolben genannt (er wird ja vom Flüssigkeitsdruck des Druckkolbens geschoben..) betätigt die 2 großen (d = 42mm) der vorderen Radbremszylinder. [siehe Anhang 1]
Da der Hub der kleinen und großen Radbremszylinder gleich ist, betrachte man zunächst nur die Kolbenflächen: PI x d² / 4
Dies ergibt für 4 kleine Kolben: 4 x 908 mm² = 3632mm², für 2 große Kolben: 2 x 1385mm² = 2770mm²
Hieraus erkennt man, dass der Hauptbremszylinderkolben 1 mehr Volumen liefern muß als der 2., was bei gleichem Zylinderdurchmesser (hier 21mm) nur durch mehr Hub zu bewerkstelligen ist. In der angehängten Schnittzeichnung [siehe Anhang 2] (rote Doppelpfeile) lässt sich das leicht erkennen.
Der Hauptbremszylinder ist nun auch noch so ausgelegt, daß im Falle des Ausfalls des Kreises 1 der Hauptbremszylinderkolben 1 die vor ihm liegende Feder soweit zusammendrückt, daß seine Nase nun den Kolben 2 mechanisch (jetzt nicht mehr schwimmend..) anschiebt. Da der mechanisch mögliche Hub des Kolbens 1 ziemlich genau doppelt so groß ist wie der des 2. Kolbens funktioniert das! Kreis 2 ist damit noch funktionstüchtig.
Fällt Kreis 2 aus, fährt zwar der Kolben 2 ganz nach vorne aber seine hintere Abdichtung zum Kreis 1 dichtet nach wie vor und Kreis 1 ist damit weiterhin funktionstüchtig.
Bei z.B. Diagonal - Zweikreisbremssystemen (K) sind die zu verdrängenden Volumina gleich, da jeweils ein vorderer mit einem hinteren Radbremszylinder betätigt werden und somit beide Hauptbremszylinderkolben gleich viel Flüssigkeit bewegen müssen, also anders als bei unserer "Super" Duplex (HT).
Der große Vorteil liegt insbesondere darin, dass bei "HT" beim Ausfall eines Kreises kein Drehimpuls durch ungleichseitige Bremsleistungen entstehen, wodurch das Fahrzeug fahrstabil bleibt, was beim Diagonalsystem (K) beispielsweise nich der Fall ist.
Fazit: Die Hauptbremszylinder sind nicht ohneweiteres austauschbar, ich denke das war was Huib meinte...
Ich hoffe ich konnte mich einigermaßen verständlich ausdrücken, ist ja nicht so ganz einfach in Worten.
Gruß
Dirk
zum Thema "Super" Duplex oder auch Zweikreisbremssystem Typ HT genannt gebe ich meinen Senf mal dazu.
Für alle Mitleser vorab in Kurzform:
Der Hauptbremszylinderkolben 1 (der dem Bremskraftverstärker näher liegt) auch Druckkolben genannt (weil man da mit dem Pedal drauf drückt..) betätigt die 4 kleinen Kolben (d =34mm) der vorderen und die der hinteren Rabremszylinder zugleich.
Der Hauptbremszylinderkolben 2 auch Schwimmkolben genannt (er wird ja vom Flüssigkeitsdruck des Druckkolbens geschoben..) betätigt die 2 großen (d = 42mm) der vorderen Radbremszylinder. [siehe Anhang 1]
Da der Hub der kleinen und großen Radbremszylinder gleich ist, betrachte man zunächst nur die Kolbenflächen: PI x d² / 4
Dies ergibt für 4 kleine Kolben: 4 x 908 mm² = 3632mm², für 2 große Kolben: 2 x 1385mm² = 2770mm²
Hieraus erkennt man, dass der Hauptbremszylinderkolben 1 mehr Volumen liefern muß als der 2., was bei gleichem Zylinderdurchmesser (hier 21mm) nur durch mehr Hub zu bewerkstelligen ist. In der angehängten Schnittzeichnung [siehe Anhang 2] (rote Doppelpfeile) lässt sich das leicht erkennen.
Der Hauptbremszylinder ist nun auch noch so ausgelegt, daß im Falle des Ausfalls des Kreises 1 der Hauptbremszylinderkolben 1 die vor ihm liegende Feder soweit zusammendrückt, daß seine Nase nun den Kolben 2 mechanisch (jetzt nicht mehr schwimmend..) anschiebt. Da der mechanisch mögliche Hub des Kolbens 1 ziemlich genau doppelt so groß ist wie der des 2. Kolbens funktioniert das! Kreis 2 ist damit noch funktionstüchtig.
Fällt Kreis 2 aus, fährt zwar der Kolben 2 ganz nach vorne aber seine hintere Abdichtung zum Kreis 1 dichtet nach wie vor und Kreis 1 ist damit weiterhin funktionstüchtig.
Bei z.B. Diagonal - Zweikreisbremssystemen (K) sind die zu verdrängenden Volumina gleich, da jeweils ein vorderer mit einem hinteren Radbremszylinder betätigt werden und somit beide Hauptbremszylinderkolben gleich viel Flüssigkeit bewegen müssen, also anders als bei unserer "Super" Duplex (HT).
Der große Vorteil liegt insbesondere darin, dass bei "HT" beim Ausfall eines Kreises kein Drehimpuls durch ungleichseitige Bremsleistungen entstehen, wodurch das Fahrzeug fahrstabil bleibt, was beim Diagonalsystem (K) beispielsweise nich der Fall ist.
Fazit: Die Hauptbremszylinder sind nicht ohneweiteres austauschbar, ich denke das war was Huib meinte...
Ich hoffe ich konnte mich einigermaßen verständlich ausdrücken, ist ja nicht so ganz einfach in Worten.
Gruß
Dirk
Re: Hauptbremszylinder Fulvia Serie 21mm
Hallo Ali,
In der Hydraulik muss man die Oberfläche für die Berechnungen verwenden. Sie können die Durchmesser der Zylinder (Hauptzylinder und Radzylinder) messen und die Oberfläche berechnen.
In einem Duplex-System arbeitet eine Kammer an der Vorderachse. Der andere arbeitet an der Hinterachse. Das haben die meisten Autos.
Das Pedal drückt auf den Kolben 1. Kolben 1 drückt Flüssigkeit zu 4 großen Zylindern vorne und zu Kolben 2. Kolben 2 drückt Flüssigkeit zu 4 kleinen Zylindern hinten. Wenn der Kreislauf 1 seine Flüssigkeit verliert, muss der Kolben 1 tiefer gehen und mechanisch gegen den Kolben 2 drücken. Der Kolben 2 muss sich dann so weit bewegen, dass genügend Flüssigkeit nach hinten fließt, damit die hinteren Bremsen funktionieren. Die Länge der Kammern wird so berechnet, dass dies gut funktioniert. Befindet sich der Kreislauf 2 ohne Flüssigkeit, bewegt sich der Kolben 2 bis zum Anschlag, ohne den zur Druckerzeugung in Kammer 1 erforderlichen Gegendruck aufzubauen. Erst wenn der Kolben 2 den Anschlag erreicht hat, baut die Kammer 1 einen ausreichenden Druck für die Vorderradbremsen. Auch hier muss das Pedal viel tiefer gehen (ohne auf den Boden zu gehen!).
Beim Super-Duplex-System drückt der Kolben 1 Flüssigkeit zu 8 kleinen Zylindern und zum Kolben 2. Die kombinierte Oberfläche der 8 kleinen Zylinder ist kleiner als die kombinierte Oberfläche von 4 großen Zylindern. Kammer 2 arbeitet mit 4 mittelgroßen Zylindern, was viel mehr ist als 4 kleinen Zylindern. Denken Sie daran, dass Sie bei den Berechnungen die Oberfläche verwenden müssen. Die Unterschiede sind relativ groß. Kammer 1 muss kleiner und Kammer 2 muss größer sein als ein Duplex-System, wenn es in Notsituationen funktionieren soll.
In der Hydraulik muss man die Oberfläche für die Berechnungen verwenden. Sie können die Durchmesser der Zylinder (Hauptzylinder und Radzylinder) messen und die Oberfläche berechnen.
In einem Duplex-System arbeitet eine Kammer an der Vorderachse. Der andere arbeitet an der Hinterachse. Das haben die meisten Autos.
Das Pedal drückt auf den Kolben 1. Kolben 1 drückt Flüssigkeit zu 4 großen Zylindern vorne und zu Kolben 2. Kolben 2 drückt Flüssigkeit zu 4 kleinen Zylindern hinten. Wenn der Kreislauf 1 seine Flüssigkeit verliert, muss der Kolben 1 tiefer gehen und mechanisch gegen den Kolben 2 drücken. Der Kolben 2 muss sich dann so weit bewegen, dass genügend Flüssigkeit nach hinten fließt, damit die hinteren Bremsen funktionieren. Die Länge der Kammern wird so berechnet, dass dies gut funktioniert. Befindet sich der Kreislauf 2 ohne Flüssigkeit, bewegt sich der Kolben 2 bis zum Anschlag, ohne den zur Druckerzeugung in Kammer 1 erforderlichen Gegendruck aufzubauen. Erst wenn der Kolben 2 den Anschlag erreicht hat, baut die Kammer 1 einen ausreichenden Druck für die Vorderradbremsen. Auch hier muss das Pedal viel tiefer gehen (ohne auf den Boden zu gehen!).
Beim Super-Duplex-System drückt der Kolben 1 Flüssigkeit zu 8 kleinen Zylindern und zum Kolben 2. Die kombinierte Oberfläche der 8 kleinen Zylinder ist kleiner als die kombinierte Oberfläche von 4 großen Zylindern. Kammer 2 arbeitet mit 4 mittelgroßen Zylindern, was viel mehr ist als 4 kleinen Zylindern. Denken Sie daran, dass Sie bei den Berechnungen die Oberfläche verwenden müssen. Die Unterschiede sind relativ groß. Kammer 1 muss kleiner und Kammer 2 muss größer sein als ein Duplex-System, wenn es in Notsituationen funktionieren soll.
Re: Hauptbremszylinder Fulvia Serie 21mm
Hallo Dirk
Ich sehe, dass Sie in der Zwischenzeit auch eine sehr nette und klare Botschaft gepostet haben. Ich hatte das diagonal getrennte System vergessen. Vielen Dank
Das Super-Duplex-System ist nicht das sicherste. Es kann vorkommen, dass sich ein Stück Eisendraht um ein Vorderrad wickelt und beide Gummischläuche durchtrennt. Dann funktionieren die Bremsen gar nicht mehr. Ich erwarte nicht, dass viele Hauptbremszylinder für ein Super-Duplex-System hergestellt werden.
Ich sehe, dass Sie in der Zwischenzeit auch eine sehr nette und klare Botschaft gepostet haben. Ich hatte das diagonal getrennte System vergessen. Vielen Dank
Das Super-Duplex-System ist nicht das sicherste. Es kann vorkommen, dass sich ein Stück Eisendraht um ein Vorderrad wickelt und beide Gummischläuche durchtrennt. Dann funktionieren die Bremsen gar nicht mehr. Ich erwarte nicht, dass viele Hauptbremszylinder für ein Super-Duplex-System hergestellt werden.
Re: Hauptbremszylinder Fulvia Serie 21mm
Hallo Ali,
bzw. Interessenten
noch eine kleine Korrektur zum Preis des von Dir angegebenen Stahlhauptbremszylinders.
Aufgrund einer Verwechslung mit einer zeitgleichen Preisanfrage muß ich mitteilen, dass der Preis mit 585,20€ (Netto!) doch ein "klein wenig" höher angesiedelt ist als ich fälschlicherweise weiter oben angegeben habe.
Es soll sich dabei übrigens um einen modifizierten ATE Bendix Bremszylinder handeln, was mich jetzt doch ein wenig neugierig macht.
Ali, könntest Du mal die Länge Deines Bremzylinders vom Bremskraftverstärker (Fussunterkante) bis an die Spitze nachmessen?
Hintergrund ist dass bei ATE Classic die Bremszylinder nach Längen sortiert sind, etwas seltsam nicht wahr?
Ausserdem würde mich interessieren ob der Befestigungsfuss als separates Teil aufgeschrumpft ist oder wie üblich aus einem Stück mit dem Zylinderkörper besteht?
Zusätzlich wären irgendwelche Ziffern- oder Buchstabenkombinationen auf dem Zylinder interessant.
Gruß
Dirk
bzw. Interessenten
noch eine kleine Korrektur zum Preis des von Dir angegebenen Stahlhauptbremszylinders.
Aufgrund einer Verwechslung mit einer zeitgleichen Preisanfrage muß ich mitteilen, dass der Preis mit 585,20€ (Netto!) doch ein "klein wenig" höher angesiedelt ist als ich fälschlicherweise weiter oben angegeben habe.
Es soll sich dabei übrigens um einen modifizierten ATE Bendix Bremszylinder handeln, was mich jetzt doch ein wenig neugierig macht.
Ali, könntest Du mal die Länge Deines Bremzylinders vom Bremskraftverstärker (Fussunterkante) bis an die Spitze nachmessen?
Hintergrund ist dass bei ATE Classic die Bremszylinder nach Längen sortiert sind, etwas seltsam nicht wahr?
Ausserdem würde mich interessieren ob der Befestigungsfuss als separates Teil aufgeschrumpft ist oder wie üblich aus einem Stück mit dem Zylinderkörper besteht?
Zusätzlich wären irgendwelche Ziffern- oder Buchstabenkombinationen auf dem Zylinder interessant.
Gruß
Dirk
